欢迎访问新医改评论 XYGPL.COM 您是第 3732954 位访问者
医保 DRG/DIP 支付方式改革和医保医师记分制推行的大背景下,“首诊医师绩效与病种绩效” 双规并进绩效模型为医院绩效管理提供了创新思路和实践方案 。展望未来,随着医改的持续深入,这套绩效模型将在医院高质量发展中发挥更为关键的作用 。
秦永方医疗卫生财务会计经济研究 2026-02-05
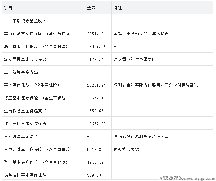
现在医保基金核算方式采取“收费实现制”,什么时候收到钱就做收入,什么时候付款就做支出,例如每年缴费时间在第四季度就算做当年的收入,其实应该与下一年的医保金支出相匹配,这样就会导致医保基金结余“虚盈”,容易导致人们误解,甚至医保政策决策失误。针对医保基金核算中的问题,财政部近日印发《〈社会保险基金会计制度〉补充规定》的通知(财会〔2025〕35号,以下简称《通知》),意味着医保基金运行将彻底告别以往“雾里看花”的模糊状态,更让每一笔关乎群众生命健康的“救命钱”,其来龙去脉都实现可追溯、可验证、可问责,真正做到账实清晰、监管有据、风险可控。
秦永方医疗卫生财务会计经济研究 2026-02-05
2025年,在中美上演激烈贸易战、全球地缘政治日益复杂的情况下,我国医药出口仍取得增长,出口超千亿,达1113.41亿美元,同比增长3.41%。
自然药论 2026-02-05长寿医学赛道近两年热度飙升,从一线城市高端商圈到新一线城市健康园区,各类长寿诊所、抗衰中心遍地开花。但行业调研数据却泼了一盆冷水:仅39%的长寿诊所实现盈利,也就是说一半以上的创业者,处于亏损、持平或艰难续命状态。
健康界 2026-02-05


2月2日,国家医保局发布2026年医保基金监管工作的通知。对于定点医药机构而言,2026年不再是“能不能过关”的问题,而是“合规才能生存”的问题。
ABC诊所管家 2026-02-04
2月3日,《中共中央 国务院关于锚定农业农村现代化 扎实推进乡村全面振兴的意见》发布,强调努力把农业建成现代化大产业、使农村基本具备现代生活条件、让农民生活更加富裕美好,为推进中国式现代化提供基础支撑。
南方Plus 2026-02-04
2025年作为职工医保个人账户共济政策全面落地的关键一年,国家医保局最新数据显示,全年共济总人次达4.64亿、总金额687.7亿元,资金流向呈现鲜明的“医疗为主、药店为辅”特征——仅5%用于药店购药,超90%流向医疗机构医疗费支付及居民医保代缴。这一变革对医保结算占总营收36.7%的湖北零售药店而言,既是结构性冲击,更是转型倒逼的重要契机。
湖北省医药行业协会 2026-02-03陈某军主动与郝某刚约定,每月按照使用创生钢板类医疗器械价格的40%左右、关节类医疗器械的20%左右给予回扣,以银行转账方式转账到郝某刚实际控制的账户,由郝某刚与科室平分。
国家医保局 2026-02-03目前,职工医保个人账户共济可以通过即时调用被绑定人个人账户、医保钱包等方式实现。2025年1-12月职工医保个人账户共济人次4.64亿,金额687.7亿元。
国家医保局 2026-02-022026年1月21日,北京大学全球健康发展研究院成功举办第12期“北大全球健康高端对话”。本期对话特邀香港大学荣誉教授、世界卫生组织(WHO)西太平洋区卫生系统前主任林光汶博士(Vivian Lin)作为主讲嘉宾,围绕“为何政策实施如此艰难?政治经济学至关重要”主题进行了学术研讨。
北京大学全球健康发展研究院 2026-02-02

在日本,这个高度发达的国家,在此之前,女性若需获取此类紧急药物,必须前往医疗机构接受医生诊断并获得处方,费用高达8000日元至2万円(约合人民币400-1000元),且受限于医疗机构的营业时间和地理位置,许多人,尤其是年轻人或偏远地区居民,难以在72小时黄金期内获得药物。
静说日本 2026-02-02
国家卫健委正式批复同意依托北京儿童医院及首都儿童医学中心,开展儿童生长发育、儿童营养、儿童皮肤疾病三个专科的互联网诊疗首诊试点,试点时间从2026年1月持续至12月,为期一年。
诊锁界 2026-02-02以“大叶性肺炎”为例,西部某市医保结算数据结果显示,一些医院多项检查、治疗项目使用频度过高:如某院收治该病种的病例中,95%做了超声波治疗,97%使用了心电监测、血氧饱和度监测;另一家医院71%的病例做了三维重建检查。
国家医保局 2026-02-02